竖井开拓适应性很强,适用于各种地质条件,更适用于赋存于地面以下、急倾斜或缓倾斜矿体及需特殊凿井法施工的矿井,其技术也较成熟,国内外矿山已广泛采用。由于竖井提升能力大,自动化程度高,故常用于大、中型矿山。
随着埋藏较深矿体的开采和工程地质、水文地质等复杂矿床的建设,采用竖井开拓的矿山将会增加。根据矿山设计及生产实践,矿床开采深度超过500-80m、年产量在0.5-0.8M以上时,应优先考虑竖井开拓。竖井开拓的缺点是生产矿山井筒延深困难,安全性差。因此,为便于矿山达产后持续正常生产,基建时将井筒开掘到足够深度,使开拓矿量保有期达到8-15年,大型矿山取大值。
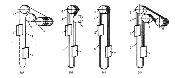
竖井是联系井上、井下的咽喉要道,一般是担负矿石、废石、人员、材料及设备的垂直提升任务,因此,竖井的提升系统十分重要。

(a)单绳缠绕;(b)塔式多绳摩擦;(c)塔式多绳摩擦(无导向轮);(d)落地式多绳摩擦1一天轮或导向轮;2—容器/配重;3—尾绳;4一首绳;5一主轴装置;6一摩擦轮
目前,竖井提升可以采用单绳缠绕式提升机,也可以采用多绳摩擦式提升机或布雷尔式提升机等。在国内,一般单绳缠绕式提升机多用于深度小于400~60m的矿井;多绳摩擦式提升机多用于深度300-100m 的矿井。
多绳摩擦式提升机与单绳缠绕式提升机相比,具有适于深井重载提升、钢绳直径小、设备质量轻、投资省、耗电少、安全可靠等优点,因而在国内获得了广泛的应用。其缺点是基建时间长。当采用重平衡绳或加重的提升容器时,多绳摩擦式提升机也可用于深度小于300m的矿井。一般深度小于300m的矿井应优先考虑采用d3m以下的单绳缠绕式提升机。一些国家的使用经验证明,为了保证提升钢丝绳的必要使用寿命,在提升钢丝绳任意断面处的应力波动值一般不应大于165N/m²。